ナイロンブッシング UBN-Nシリーズ
【ユーボン】
【ユーボン】
特長
割れにくいナイロン樹脂製。。耐衝撃性、耐熱性、耐磨耗性、耐油性、耐薬品性に優れています。
内面両端を面取り。貫通物表面にキズが付きにくくなっています。
ねじ嵌合により、容易に固定できます。
材質:ナイロン
色:黒(B)・アイボリー(IV)
難燃性:UL94 V-2
<販売単位>
・各サイズ: バラ販売(1個単位)
-
仕様
-
在庫価格照会
特長(1)
ノズルおよびナットは、耐熱性・耐衝撃性・耐磨耗性・耐油性・耐薬品性・耐トラッキング性などの優れた性質をバランス良く保有し、有害物質を含まない難燃(UL94 V-2)仕様のナイロン樹脂を採用しました。
ノズルとナットは、ねじ込みだけのワンタッチ・スクリューで、容易な作業で嵌合・固定できます。
特長(2)
内径はφ8~φ100の小口径から大口径まで、幅広いサイズをラインナップしています。
色調は、どのような物にも組み合わせることができる黒色とアイボリー色の2タイプを用意しました。
ボードやコンクリート壁の貫通穴、機械やOA機器の周辺設備まわりといった、幅広い用途でご使用できます。

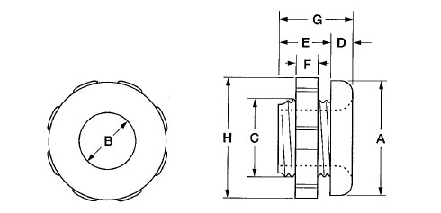
| 型式 | φA 外径 | φB 内径 | φC パネル 径 | D | E | F | G | ΦH | 取付穴 寸法 | パンチ サイズ |
|---|---|---|---|---|---|---|---|---|---|---|
| UBN-N8 | 17 | 8 | 12 | 3 | 15 | 4 | 18 | 19 | 13 | - |
| UBN-N10 | 19 | 10 | 14 | 4 | 15 | 4 | 19 | 21 | 15 | - |
| UBN-N12 | 21 | 12 | 16 | 4 | 15 | 4 | 19 | 23 | 17 | - |
| UBN-N14 | 28 | 14 | 19 | 4 | 17 | 4 | 21 | 30 | 20 | 19/ |
| UBN-N16 | 30 | 16 | 21 | 4 | 17 | 4 | 21 | 32 | 22 | /16 |
| UBN-N20 | 35 | 20 | 26 | 4 | 17 | 5 | 21 | 37 | 27 | 25/22 |
| UBN-N26 | 45 | 26 | 32 | 4 | 20 | 6 | 24 | 47 | 33 | 31/28 |
| UBN-N30 | 55 | 30 | 40 | 5 | 25 | 6 | 30 | 57 | 41 | /36 |
| UBN-35 | 60 | 35 | 45 | 7 | 20 | 8 | 27 | 62 | 46 | /42 |
| UBN-N40 | 64 | 40 | 49 | 5 | 25 | 6 | 30 | 67 | 50 | /51 |
| UBN-N50 | 75 | 50 | 60 | 5 | 25 | 6 | 30 | 77 | 61 | /54 |
| UBN-N60 | 92 | 60 | 74 | 5 | 30 | 7 | 35 | 94 | 75 | /70 |
| UBN-N70 | 106 | 70 | 86 | 5 | 30 | 7 | 35 | 108 | 87 | /82 |
| UBN-N80 | 118 | 80 | 96 | 5.5 | 30 | 8 | 35.5 | 121 | 97 | /92 |
| UBN-N100 | 140 | 100 | 114 | 6 | 30 | 9 | 36 | 144 | 117 | /104 |
※ご注文の場合、型式末尾の色記号をご記入ください。
B:黒、 IV:アイボリー色、
(単位:/mm)




